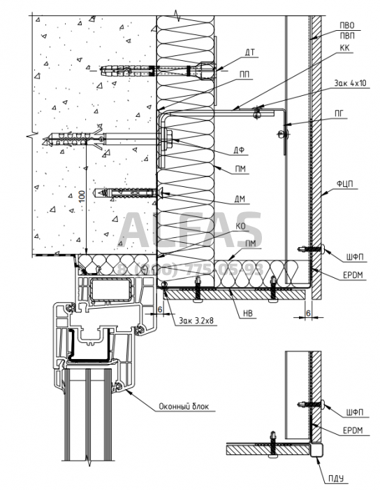
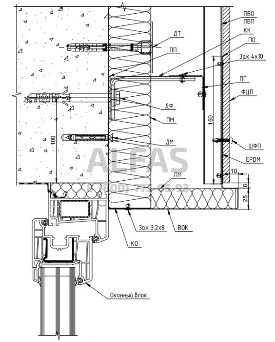
Конструкция навесной фасадной системы с воздушным зазором (далее - НФС) с облицовкой фиброцементными, цементоволокнистыми и асбестоцементными плитами "АЛЬФА-Фиброцемент" предназначена для облицовки фасадов и утепления с наружной стороны вновь строящихся и реконструируемых зданий и сооружений различного назначения всех уровней ответственности, степеней огнестойкости и классов функциональной и конструктивной пожарной опасности в местностях, относящихся к различным ветровым районам с различными геологическими и геофизическими условиями - в соответсвие с подтвержденной расчетами и испытаниями несущей способностью конструкций, а также к районам с различными температурно-климатическими условиями - в соответствие с результатами теплотехнических расчетов и к районам с неагрессивной, слабоагрессивной и среднеагрессивной внешней средой.